Клапаны серии КАТ11 (КАТ21) представляют собой клапаны, где запорный орган выполнен в виде армированной диафрагмы.
Клапаны КАТ11 (КАТ21) используются для обеспечения широкого спектра функций управления и регулирования в системах водоснабжения, канализации, пожаротушения, технологических процессах в промышленности и сельском хозяйстве.
Клапаны управляются давлением жидкости, имеющимся в линии, либо давлением от внешнего источника, которое должно быть выше или равно давлению в линии.
Простота конструкции клапанов серии КАТ11 (КАТ21) обеспечивает их легкое обслуживание без демонтажа из трубопровода. Обслуживание может выполняться необученным персоналом, использующим базовые инструменты.
Отсутствуют оси, подшипники, уплотнения, которые подвержены коррозии. Нет износа и повреждений при работе с жидкостями, имеющими абразивные включения или агрессивными растворами.
| Присоединение | фланцы DN 50-800 мм; |
| резьба | DN 20-80 мм |
| Условное давление | PN 1,6-2,5 МПа |
| Рабочая температура | 0...60 ˚С |
| Выходное давление | 0,05-1,6 МПа |

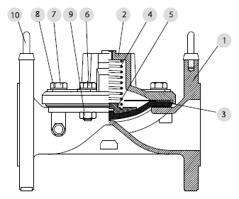
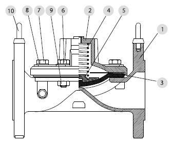
| № | Название | Материалы |
| 1 | Корпус | Высокопрочный чугун, GGG40 |
| 2 | Крышка | Высокопрочный чугун, GGG40 |
| 3 | Диафрагма | Натуральная резина, армированная нейлоном |
| 4 | Пружина | Нержавеющая сталь |
| 5 | Опора пружины | Нержавеющая сталь |
| 6, 7 | Болты | Углеродистая сталь с гальваническим покрытием |
| 8 | Шайба | Углеродистая сталь с гальваническим покрытием |
| 9 | Гайка | Углеродистая сталь с гальваническим покрытием |
| 10 | Монтажное кольцо | Углеродистая сталь с гальваническим покрытием |