Для трубопроводов, транспортирующих холодную, горячую воду, нейтральные среды в системах пожаротушения.
| Максимально допустимое давление | 1,0/1,6 МПа |
| Максимально допустимая температура | 120 °C |
| Присоединение | фланцевое |

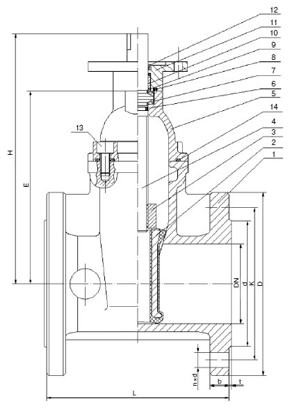
| 1 | Корпус | Высокопрочный чугун GGG40 (EN-GJS-400) |
| 2 | Клин | GGG40 (EN-GJS-400)/EPDM |
| 3 | Гайка штока | Бронза |
| 4 | Шток | Нержавеющая сталь 12Cr13 |
| 5 | Крышка | GGG40 (EN-GJS-400) |
| 6 | Уплотнительное кольцо штока 1 | EPDM |
| 7 | Уплотнение штока | Нейлон |
| 8 | Уплотненное кольцо | EPDM |
| 9 | Уплотнительное кольцо штока 2 | EPDM |
| 10 | Втулка | Нейлон |
| 11 | Фланец под привод | GGG40 (EN-GJS-400) |
| 12 | Пыльник | Нейлон |
| 13 | Болт | Сталь |
| 14 | Прокладка крышки | EPDM |

| DN, (мм) | Размеры, (мм) | ISO - фланец | Привод | Момент, (Н•м) | Вес, (кг) | ||||||||||||||||||
|---|---|---|---|---|---|---|---|---|---|---|---|---|---|---|---|---|---|---|---|---|---|---|---|
| L | d | D | E | K | n х d | b | d3 | m | t | H | H1 | H2 | H3 | D1 | D2 | С | С1 | С2 | |||||
| 50 | 150 | 98 | 165 | 160 | 125 | 4х19 | 19 | 20 | 6 | 3 | 241 | 210 | 479 | 297 | 160 | 101 | 50 | 265 | 249 | F10 | SA 07.6 | 60 | 32 |
| 65 | 170 | 118 | 185 | 182 | 145 | 4х19 | 19 | 20 | 6 | 3 | 263 | 210 | 501 | 319 | 160 | 101 | 50 | 265 | 249 | F10 | SA 07.6 | 60 | 35 |
| 80 | 180 | 133 | 200 | 212 | 160 | 8х19 | 19 | 20 | 6 | 3 | 293 | 210 | 531 | 349 | 160 | 101 | 50 | 265 | 249 | F10 | SA 07.6 | 60 | 43 |
| 100 | 190 | 153 | 220 | 246 | 180 | 8х19 | 19 | 20 | 6 | 3 | 327 | 210 | 567 | 383 | 200 | 121 | 50 | 283 | 254 | F10 | SA 10.2 | 120 | 50 |
| 125 | 200 | 183 | 250 | 317 | 210 | 8х19 | 19 | 30 | 8 | 3 | 402 | 226 | 652 | 453 | 315 | 153 | 66 | 389 | 336 | F14 | SA 14.2 | 120 | 82 |
| 150 | 210 | 209 | 285 | 330 | 240 | 8х19 | 19 | 30 | 8 | 3 | 415 | 226 | 665 | 466 | 315 | 153 | 66 | 389 | 336 | F14 | SA 14.2 | 120 | 93 |
| 200 | 230 | 264 | 340 | 410 | 295 | 12х23 | 20 | 30 | 8 | 3 | 495 | 226 | 745 | 546 | 315 | 153 | 66 | 389 | 336 | F14 | SA 14.2 | 250 | 115 |
| 250 | 250 | 319 | 405 | 496 | 355 | 12х28 | 22 | 30 | 8 | 3 | 586 | 226 | 832 | 633 | 400 | 153 | 70 | 389 | 339 | F14 | SA 14.6 | 500 | 157 |
| 300 | 270 | 367 | 460 | 620 | 410 | 12х28 | 24,5 | 30 | 8 | 4 | 710 | 226 | 956 | 757 | 400 | 153 | 70 | 389 | 339 | F14 | SA 14.6 | 500 | 210 |