Модель N25 ESFR предназначена для использования в хранилищах с высотой складирования обычных материалов, хранимых на поддонах и покрытых или непокрытых пластиковой пленкой, в том числе пластика в картонных коробках, до 10,7 м. Возможна защита некоторых хранилищ резиновых шин, рулонной бумаги, легковоспламеняющихся жидкостей и аэрозолей.
Рабочим механизмом данного спринклера является надежная плавкая вставка. Во время пожара температура окружающей среды повышается, расплавляя вставку. Когда температура окружающей среды достигает расчетной температуры, вставка разрушается. В результате отверстие оросителя освобождается от уплотняющих деталей, вода поступает на розетку оросителя, которая разбрызгивает ее, локализуя и ликвидируя возгорание.
| Наименование модели | Описание |
| R0912 | Ороситель спринклерный розеткой вниз 1”, К-363 |
| Тип | Т срабатывания | Тmax окр. среды | Цвет рамки | ||
|---|---|---|---|---|---|
| °F | °C | °F | °C | ||
| Обычный | 165 | 74 | 100 | 38 | Бесцветный |
| Средний | 212 | 100 | 150 | 66 | Белый |
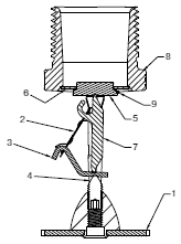
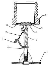
| Наименование | Материал | |
|---|---|---|
| 1 | Дефлектор | Бронза |
| 2 | Плавкая вставка | Никель |
| 3 | Рычаг | Монель |
| 4 | Заправочный винт | Нерж. сталь |
| 5 | Колпачок | Нерж. сталь |
| 6 | Уплотнение | Тефлоновая лента |
| 7 | Стойка | Монель |
| 8 | Рама | Латунь |
| 9 | Пружина | Нерж. сталь |

